Ваш город
Новотитаровская станица
Анапа
Армавир
Витязево
Геленджик
Горячий Ключ
Гулькевичи
Елизаветинская
Знаменский
Кабардинка
Краснодар
Крымск
Новотитаровская
Славянск-на-Кубани
Сочи
Старокорсунская
Тимашевск
Тихорецк
8 (800) 222-22-46
Заказать звонок
  • Viber
  • WhatsApp
Войти
Феанор.Газификация

Инженерно-юридическая компания

Каталог
Котлы
Водонагреватели
Расходные материалы
Запорная арматура и фитинги
Контрольно-измерительные приборы и автоматика (КИП и А)
    • Газовые котлы
      Газовые котлы
    • Электрические котлы
      Электрические котлы
    • Переналадка котлов на сжиженный газ (СУГ)
      Переналадка котлов на сжиженный газ (СУГ)
    • Запасные части и комплектующие
      Запасные части и комплектующие
    • Газовые водонагреватели
      Газовые водонагреватели
    • Бойлеры косвенного нагрева
      Бойлеры косвенного нагрева
    • Электрические водонагреватели
      Электрические водонагреватели
    • Краска
    • Запорная арматура
      Запорная арматура
    • Фитинги полиэтиленовые
      Фитинги полиэтиленовые
    • Фитинги и соединительные элементы
    • Фитинги стальные
      Фитинги стальные
    • Учет газа
      Учет газа
      • Бытовые и коммунальные счётчики газа
      • Шкафы для счетчиков газа
      • Промышленные счётчики газа
      • Ультразвуковые расходомеры газа
      • Электронные корректоры объема газа
      • Комплексы для учёта газа
    • Системы контроля загазованности
      Системы контроля загазованности
      • Системы контроля загазованности
      • Сигнализаторы загазованности
      • Клапаны
      • Дополнительная комплектация систем
    • Учет тепла
    • АСУТП
Услуги по газификации
  • Газификация частного дома
    • Газификация частного дома в Новотитаровской
    • Сопровождение заключения договора на технологическое присоединение к сетям газораспределения частного дома в Новотитаровской
    • Разработка проекта газификации частного дома в Новотитаровской
    • Строительство и монтаж газопровода для частного дома в Новотитаровской
    • Продажа и установка газового оборудования для частного дома в Новотитаровской
    • Испытания и сдача газопровода частного дома в Новотитаровской в АО "Газпром Газораспределение Краснодар" (АО "Сочигоргаз"
    • Производство и монтаж приточной и вытяжной вентиляции для газа в частном доме в Новотитаровской
    • Установка систем автоматического контроля загазованности для частого дома в Новотитаровской
    • Сопровождение технологического присоединения в Новотитаровской
    • Пуск газа
    • Обслуживание газовых котлов в Новотитаровской
    • Пуско-наладка котла в Новотитаровской
  • Газификация коммерческих объектов / предприятий
    • Газификация коммерческих объектов / предприятий в Новотитаровской
    • Сопровождение заключения договора на технологическое присоединение к сетям газораспределения коммунально-бытовых объектов в Новотитаровской
    • Проектирование газификации коммунально-бытовых объектов в Новотитаровской
    • Продажа и подключение газового оборудования для коммунально-бытовых объектов
    • Строительство и монтаж газопровода для коммунально-бытовых объектов в Новотитаровской
    • Обслуживание котла отопления в коммунально-бытовых объектах
    • Сопровождение технологического присоединения к сетям газораспределения коммунально-бытовых объектов
    • Установка систем автоматического контроля загазованности для коммунально-бытовых объектов в Новотитаровской
Компания
  • О компании
  • Новости
  • Отзывы
  • Вакансии
  • Документы
Контакты
Реализованные объекты
  • Газификация многоквартирных домов
    • ЖК "Оазис-2"
    • Сеть газораспределения и газопотребления для ЖК «Дубровка» в гор. Краснодаре
    • ЖК" На Красных Партизан 2" и ЖК "Студия 45"
  • Распределительные газопроводы
    • Газификация садового товарищества "Новознаменский" в пос. Знаменский гор. Краснодара
    • Газификация СНТ "Знаменский" в поселке Знаменский гор. Краснодаре
    • Газификация микрорайона Дивный в пос. Индустриальный города Краснодара
  • Газификация частных домов
    • Газификация частного дома (Курганинск) - 160 кВт, VAILLANT, 3 месяца
    • Газификация частного дома в СНТ "Радист" г. Краснодара (частная труба)
    • Газификация частного дома (частная труба) в СНТ Животновод г. Краснодара -
    • Газификация частного дома по ул. Березанская г. Краснодара
    • Газификация жилого дома в ст. Елизаветинской
    • Газификация дома в КП Николино Парк. Получение результата от ГРО
    • Газификация частного дома на ул. Лучезарная СНТ Знаменский г. Краснодара
    • Газификация частного дома на улице Норильская СНТ Новознаменский г. Краснодара
    • Газификация частного дома ул Центральная СНТ Новознаменский г. Краснодара
    • Газификация частного дома на улице Челбасская КП "Крепость" г. Краснодара
    • Газификация частного дома на ул. Ахтанизовская в КП "Крепость"
    • Газификация частного дома на ул. Звездная СНТ Знаменский г. Краснодара
  • Проектирование газификации
    • Техническое перевооружение сети газопотребления Лабинского МЭЗ
  • Газификация административных объектов
    • Газификация офисного здания на ул. Уральская
    • Газификация двухэтажного магазина в Славянске-на-Кубани
    • Поставка и монтаж газовых котлов и системы безопасности и контроля загазованности
    • Получение договора на тех.присоединение промышленного объекта в Краснодаре
    • Газификация гостиницы. Краснодар, ул. Мира, д. 70
+  ЕЩЕ
    Феанор.Газификация
    Каталог
    Котлы
    Водонагреватели
    Расходные материалы
    Запорная арматура и фитинги
    Контрольно-измерительные приборы и автоматика (КИП и А)
      • Газовые котлы
        Газовые котлы
      • Электрические котлы
        Электрические котлы
      • Переналадка котлов на сжиженный газ (СУГ)
        Переналадка котлов на сжиженный газ (СУГ)
      • Запасные части и комплектующие
        Запасные части и комплектующие
      • Газовые водонагреватели
        Газовые водонагреватели
      • Бойлеры косвенного нагрева
        Бойлеры косвенного нагрева
      • Электрические водонагреватели
        Электрические водонагреватели
      • Краска
      • Запорная арматура
        Запорная арматура
      • Фитинги полиэтиленовые
        Фитинги полиэтиленовые
      • Фитинги и соединительные элементы
      • Фитинги стальные
        Фитинги стальные
      • Учет газа
        Учет газа
        • Бытовые и коммунальные счётчики газа
        • Шкафы для счетчиков газа
        • Промышленные счётчики газа
        • Ультразвуковые расходомеры газа
        • Электронные корректоры объема газа
        • Комплексы для учёта газа
      • Системы контроля загазованности
        Системы контроля загазованности
        • Системы контроля загазованности
        • Сигнализаторы загазованности
        • Клапаны
        • Дополнительная комплектация систем
      • Учет тепла
      • АСУТП
    Услуги по газификации
    • Газификация частного дома
      • Газификация частного дома в Новотитаровской
      • Сопровождение заключения договора на технологическое присоединение к сетям газораспределения частного дома в Новотитаровской
      • Разработка проекта газификации частного дома в Новотитаровской
      • Строительство и монтаж газопровода для частного дома в Новотитаровской
      • Продажа и установка газового оборудования для частного дома в Новотитаровской
      • Испытания и сдача газопровода частного дома в Новотитаровской в АО "Газпром Газораспределение Краснодар" (АО "Сочигоргаз"
      • Производство и монтаж приточной и вытяжной вентиляции для газа в частном доме в Новотитаровской
      • Установка систем автоматического контроля загазованности для частого дома в Новотитаровской
      • Сопровождение технологического присоединения в Новотитаровской
      • Пуск газа
      • Обслуживание газовых котлов в Новотитаровской
      • Пуско-наладка котла в Новотитаровской
    • Газификация коммерческих объектов / предприятий
      • Газификация коммерческих объектов / предприятий в Новотитаровской
      • Сопровождение заключения договора на технологическое присоединение к сетям газораспределения коммунально-бытовых объектов в Новотитаровской
      • Проектирование газификации коммунально-бытовых объектов в Новотитаровской
      • Продажа и подключение газового оборудования для коммунально-бытовых объектов
      • Строительство и монтаж газопровода для коммунально-бытовых объектов в Новотитаровской
      • Обслуживание котла отопления в коммунально-бытовых объектах
      • Сопровождение технологического присоединения к сетям газораспределения коммунально-бытовых объектов
      • Установка систем автоматического контроля загазованности для коммунально-бытовых объектов в Новотитаровской
    Компания
    • О компании
    • Новости
    • Отзывы
    • Вакансии
    • Документы
    Контакты
    Реализованные объекты
    • Газификация многоквартирных домов
      • ЖК "Оазис-2"
      • Сеть газораспределения и газопотребления для ЖК «Дубровка» в гор. Краснодаре
      • ЖК" На Красных Партизан 2" и ЖК "Студия 45"
    • Распределительные газопроводы
      • Газификация садового товарищества "Новознаменский" в пос. Знаменский гор. Краснодара
      • Газификация СНТ "Знаменский" в поселке Знаменский гор. Краснодаре
      • Газификация микрорайона Дивный в пос. Индустриальный города Краснодара
    • Газификация частных домов
      • Газификация частного дома (Курганинск) - 160 кВт, VAILLANT, 3 месяца
      • Газификация частного дома в СНТ "Радист" г. Краснодара (частная труба)
      • Газификация частного дома (частная труба) в СНТ Животновод г. Краснодара -
      • Газификация частного дома по ул. Березанская г. Краснодара
      • Газификация жилого дома в ст. Елизаветинской
      • Газификация дома в КП Николино Парк. Получение результата от ГРО
      • Газификация частного дома на ул. Лучезарная СНТ Знаменский г. Краснодара
      • Газификация частного дома на улице Норильская СНТ Новознаменский г. Краснодара
      • Газификация частного дома ул Центральная СНТ Новознаменский г. Краснодара
      • Газификация частного дома на улице Челбасская КП "Крепость" г. Краснодара
      • Газификация частного дома на ул. Ахтанизовская в КП "Крепость"
      • Газификация частного дома на ул. Звездная СНТ Знаменский г. Краснодара
    • Проектирование газификации
      • Техническое перевооружение сети газопотребления Лабинского МЭЗ
    • Газификация административных объектов
      • Газификация офисного здания на ул. Уральская
      • Газификация двухэтажного магазина в Славянске-на-Кубани
      • Поставка и монтаж газовых котлов и системы безопасности и контроля загазованности
      • Получение договора на тех.присоединение промышленного объекта в Краснодаре
      • Газификация гостиницы. Краснодар, ул. Мира, д. 70
    +  ЕЩЕ
      Феанор.Газификация
      Телефоны
      8 (800) 222-22-46
      Заказать звонок
      • Каталог
        • Назад
        • Каталог
        • Котлы Котлы
          • Назад
          • Котлы
          • Газовые котлы Газовые котлы
          • Электрические котлы Электрические котлы
          • Переналадка котлов на сжиженный газ (СУГ) Переналадка котлов на сжиженный газ (СУГ)
          • Запасные части и комплектующие Запасные части и комплектующие
        • Водонагреватели Водонагреватели
          • Назад
          • Водонагреватели
          • Газовые водонагреватели Газовые водонагреватели
          • Бойлеры косвенного нагрева Бойлеры косвенного нагрева
          • Электрические водонагреватели Электрические водонагреватели
        • Расходные материалы Расходные материалы
          • Назад
          • Расходные материалы
          • Краска
        • Запорная арматура и фитинги Запорная арматура и фитинги
          • Назад
          • Запорная арматура и фитинги
          • Запорная арматура Запорная арматура
          • Фитинги полиэтиленовые Фитинги полиэтиленовые
          • Фитинги и соединительные элементы
          • Фитинги стальные Фитинги стальные
        • Контрольно-измерительные приборы и автоматика (КИП и А) Контрольно-измерительные приборы и автоматика (КИП и А)
          • Назад
          • Контрольно-измерительные приборы и автоматика (КИП и А)
          • Учет газа Учет газа
            • Назад
            • Учет газа
            • Бытовые и коммунальные счётчики газа Бытовые и коммунальные счётчики газа
            • Шкафы для счетчиков газа Шкафы для счетчиков газа
            • Промышленные счётчики газа Промышленные счётчики газа
            • Ультразвуковые расходомеры газа Ультразвуковые расходомеры газа
            • Электронные корректоры объема газа Электронные корректоры объема газа
            • Комплексы для учёта газа Комплексы для учёта газа
          • Системы контроля загазованности Системы контроля загазованности
            • Назад
            • Системы контроля загазованности
            • Системы контроля загазованности Системы контроля загазованности
            • Сигнализаторы загазованности Сигнализаторы загазованности
            • Клапаны Клапаны
            • Дополнительная комплектация систем Дополнительная комплектация систем
          • Учет тепла
          • АСУТП
      • Услуги по газификации
        • Назад
        • Услуги по газификации
        • Газификация частного дома
          • Назад
          • Газификация частного дома
          • Газификация частного дома в Новотитаровской
          • Сопровождение заключения договора на технологическое присоединение к сетям газораспределения частного дома в Новотитаровской
          • Разработка проекта газификации частного дома в Новотитаровской
          • Строительство и монтаж газопровода для частного дома в Новотитаровской
          • Продажа и установка газового оборудования для частного дома в Новотитаровской
          • Испытания и сдача газопровода частного дома в Новотитаровской в АО "Газпром Газораспределение Краснодар" (АО "Сочигоргаз"
          • Производство и монтаж приточной и вытяжной вентиляции для газа в частном доме в Новотитаровской
          • Установка систем автоматического контроля загазованности для частого дома в Новотитаровской
          • Сопровождение технологического присоединения в Новотитаровской
          • Пуск газа
          • Обслуживание газовых котлов в Новотитаровской
          • Пуско-наладка котла в Новотитаровской
        • Газификация коммерческих объектов / предприятий
          • Назад
          • Газификация коммерческих объектов / предприятий
          • Газификация коммерческих объектов / предприятий в Новотитаровской
          • Сопровождение заключения договора на технологическое присоединение к сетям газораспределения коммунально-бытовых объектов в Новотитаровской
          • Проектирование газификации коммунально-бытовых объектов в Новотитаровской
          • Продажа и подключение газового оборудования для коммунально-бытовых объектов
          • Строительство и монтаж газопровода для коммунально-бытовых объектов в Новотитаровской
          • Обслуживание котла отопления в коммунально-бытовых объектах
          • Сопровождение технологического присоединения к сетям газораспределения коммунально-бытовых объектов
          • Установка систем автоматического контроля загазованности для коммунально-бытовых объектов в Новотитаровской
      • Компания
        • Назад
        • Компания
        • О компании
        • Новости
        • Отзывы
        • Вакансии
        • Документы
      • Контакты
      • Реализованные объекты
        • Назад
        • Реализованные объекты
        • Газификация многоквартирных домов
          • Назад
          • Газификация многоквартирных домов
          • ЖК "Оазис-2"
          • Сеть газораспределения и газопотребления для ЖК «Дубровка» в гор. Краснодаре
          • ЖК" На Красных Партизан 2" и ЖК "Студия 45"
        • Распределительные газопроводы
          • Назад
          • Распределительные газопроводы
          • Газификация садового товарищества "Новознаменский" в пос. Знаменский гор. Краснодара
          • Газификация СНТ "Знаменский" в поселке Знаменский гор. Краснодаре
          • Газификация микрорайона Дивный в пос. Индустриальный города Краснодара
        • Газификация частных домов
          • Назад
          • Газификация частных домов
          • Газификация частного дома (Курганинск) - 160 кВт, VAILLANT, 3 месяца
          • Газификация частного дома в СНТ "Радист" г. Краснодара (частная труба)
          • Газификация частного дома (частная труба) в СНТ Животновод г. Краснодара -
          • Газификация частного дома по ул. Березанская г. Краснодара
          • Газификация жилого дома в ст. Елизаветинской
          • Газификация дома в КП Николино Парк. Получение результата от ГРО
          • Газификация частного дома на ул. Лучезарная СНТ Знаменский г. Краснодара
          • Газификация частного дома на улице Норильская СНТ Новознаменский г. Краснодара
          • Газификация частного дома ул Центральная СНТ Новознаменский г. Краснодара
          • Газификация частного дома на улице Челбасская КП "Крепость" г. Краснодара
          • Газификация частного дома на ул. Ахтанизовская в КП "Крепость"
          • Газификация частного дома на ул. Звездная СНТ Знаменский г. Краснодара
        • Проектирование газификации
          • Назад
          • Проектирование газификации
          • Техническое перевооружение сети газопотребления Лабинского МЭЗ
        • Газификация административных объектов
          • Назад
          • Газификация административных объектов
          • Газификация офисного здания на ул. Уральская
          • Газификация двухэтажного магазина в Славянске-на-Кубани
          • Поставка и монтаж газовых котлов и системы безопасности и контроля загазованности
          • Получение договора на тех.присоединение промышленного объекта в Краснодаре
          • Газификация гостиницы. Краснодар, ул. Мира, д. 70
      • Новотитаровская станица
        • Назад

      СКЗ Карбон (СН4) Ду20

      Главная
      —
      Каталог
      —
      Контрольно-измерительные приборы и автоматика (КИП и А)
      КотлыВодонагревателиРасходные материалыЗапорная арматура и фитинги
      —
      Системы контроля загазованности
      Учет газаУчет теплаАСУТП
      —
      Системы контроля загазованности
      Сигнализаторы загазованностиКлапаныДополнительная комплектация систем
      —СКЗ Карбон (СН4) Ду20
      Артикул: Ду20
      ООО НПО "Газэксперт"
      СКЗ Карбон (СН4) Ду20
      СКЗ Карбон (СН4) Ду20
      СКЗ Карбон (СН4) Ду20
      СКЗ Карбон (СН4) Ду20
      3 300 руб.
      Варианты цен
      3 300 руб.
      Подробности
      Нет в наличии
      Нашли дешевле?
      Рассчитать доставку
      Хочу в подарок
      Самовывоз сегодня - бесплатно
      Доставка завтра - 390 ₽
      • Описание
      • Отзывы
      • Как купить
      • Оплата
      • Доставка
      Производитель: ООО НПО "Газэксперт" Код Товара: Ду20

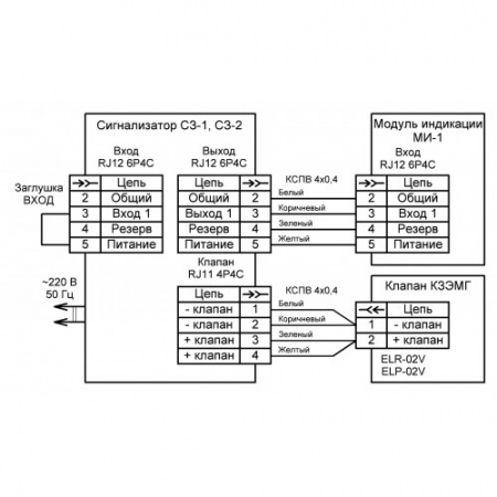
      Система контроля загазованности "КАРБОН-1" (СН4) Ду20  предназначена для информирования пользователя о загазованности помещений природным газом,  закрытия трубопровода подачи газа с помощью электромагнитного клапана, выдачи сигналов на внешние устройства и получения сигналов с внешних устройств.             Система контроля загазованности обеспечивает: •  индикацию включенного состояния; •  индикацию световыми и звуковыми сигналами  информации об аварии (загазованности); •  индикацию световыми и звуковыми сигналами  информации о неисправности; •  закрытие электромагнитного клапана при получении информации об аварии.         Характеристики и параметры: Основные технические характеристики приведены в таблице Наименование параметра Значение 1. Напряжение питания от сети переменного тока частотой 50 Гц, В 220±10% 2. Время установления рабочего режима (время прогрева), с, не более 40 3. Время, требуемое для выдачи сигнала на внешние устройство, при срабатывании аварии, с, не более 1 4. Уровень звукового давления на расстоянии 1 метра от прибора, дБ, не более 85   Средняя наработка на отказ составляет не менее 44000 часов. Средний срок службы систем контроля загазованности при условии своевременной замены сенсоров, выработавших свой ресурс и соблюдении требований настоящего РЭ – не менее 10 лет. Конструкция корпусов системы контроля загазованности должна обеспечивать степень защиты в соответствии с условиями эксплуатации не хуже, чем IP20 по ГОСТ 14254. Класс защиты от поражения электрическим током – II по ГОСТ 12.2.007.0. Условия эксплуатации: •  температура окружающей среды, °С ...……… от 0 до плюс 50; •  относительная влажность воздуха при температуре 25 °С, % … от 20 до 80; •  атмосферное давление, кПа ………………….…… от 86 до 108.        Состав системы: Система контроля загазованности состоит: •  сигнализатор загазованности по природному газу (СН4); •  электромагнитный клапан КЗЭМГ-Ду20, управляемый сигнализатором, позволяющий перекрыть подачу газа на исполнительные устройства; •  модуль индикации МИ-1, предназначенный для информирования пользователя об аварии и неисправности (по заказу). Подключение модулей системы производится межблочными соединительными кабелями.
      Отзывы
      Оставить отзыв
      Загрузка отзывов...

      Для покупки товара в нашем интернет-магазине выберите понравившийся товар и добавьте его в корзину. Далее перейдите в Корзину и нажмите на «Оформить заказ» или «Быстрый заказ».

      Когда оформляете быстрый заказ, напишите ФИО, телефон и e-mail. Вам перезвонит менеджер и уточнит условия заказа. По результатам разговора вам придет подтверждение оформления товара на почту или через СМС. Теперь останется только ждать доставки и радоваться новой покупке.

      Оформление заказа в стандартном режиме выглядит следующим образом. Заполняете полностью форму по последовательным этапам: адрес, способ доставки, оплаты, данные о себе. Советуем в комментарии к заказу написать информацию, которая поможет курьеру вас найти. Нажмите кнопку «Оформить заказ».

      Оплачивайте покупки удобным способом. В интернет-магазине доступно 3 варианта оплаты:

      1. Наличные при самовывозе или доставке курьером. Специалист свяжется с вами в день доставки, чтобы уточнить время и заранее подготовить сдачу с любой купюры. Вы подписываете товаросопроводительные документы, вносите денежные средства, получаете товар и чек.
      2. Безналичный расчет при самовывозе или оформлении в интернет-магазине: карты Visa и MasterCard. Чтобы оплатить покупку, система перенаправит вас на сервер системы ASSIST. Здесь нужно ввести номер карты, срок действия и имя держателя.
      3. Электронные системы при онлайн-заказе: PayPal, WebMoney и Яндекс.Деньги. Для совершения покупки система перенаправит вас на страницу платежного сервиса. Здесь необходимо заполнить форму по инструкции.

      Экономьте время на получении заказа. В интернет-магазине доступно 4 варианта доставки:

      1. Курьерская доставка работает с 9.00 до 19.00. Когда товар поступит на склад, курьерская служба свяжется для уточнения деталей. Специалист предложит выбрать удобное время доставки и уточнит адрес. Осмотрите упаковку на целостность и соответствие указанной комплектации.
      2. Самовывоз из магазина. Список торговых точек для выбора появится в корзине. Когда заказ поступит на склад, вам придет уведомление. Для получения заказа обратитесь к сотруднику в кассовой зоне и назовите номер.
      3. Постамат. Когда заказ поступит на точку, на ваш телефон или e-mail придет уникальный код. Заказ нужно оплатить в терминале постамата. Срок хранения — 3 дня.
      4. Почтовая доставка через почту России. Когда заказ придет в отделение, на ваш адрес придет извещение о посылке. Перед оплатой вы можете оценить состояние коробки: вес, целостность. Вскрывать коробку самостоятельно вы можете только после оплаты заказа. Один заказ может содержать не больше 10 позиций и его стоимость не должна превышать 100 000 р.
      3 300 руб.
      Варианты цен
      3 300 руб.
      Подробности
      Нет в наличии
      Нашли дешевле?
      В корзинуВ корзине
      Купить в 1 клик
      Рассчитать доставку
      Хочу в подарок
      Самовывоз сегодня - бесплатно
      Доставка завтра - 390 ₽
      Цена действительна только для интернет-магазина и может отличаться от цен в розничных магазинах
      ООО НПО "Газэксперт"
      Все товары категории
      Все товары бренда ООО НПО "Газэксперт"

      Нужна консультация?

      Наши специалисты ответят на любой интересующий вопрос
      Задать вопрос
      Подписаться на рассылку
      2026 © Феанор.Газификация
      8 (800) 222-22-46
      Заказать звонок
      novotitarovskaya@feanor.pro
      Краснодарский край, Динской район, ст. Новотитаровская
      • Telegram
      • Viber
      • Viber
      • WhatsApp
      Политика конфиденциальности
      8 (800) 222-22-46
      Сравнение0
      Отложенные 0
      Корзина 0 пуста